logo
Навигация в меню
Навигация в меню
На главную страницу > Мир продукций > Линия для производства мелкого порошка

Контакт с нами

ZYM Милл

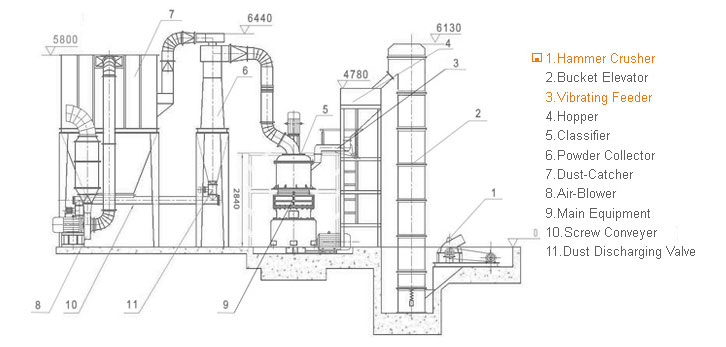
Трициклическая микрая мельницаZYM предназначается для полирования неопасных и невзрывоопасных материалов с твёрдостью по Моосу не более чем ступень 6 и влажностью ниже 6%, как каолин, известняк, кальцит, мрамор, тальк, барит, гипс, доломит, бентонит, слюда, пирофиллита, сепиолита, диатомит, графит, квасцы камень, флюорит, фосфорит,Пигмент. Зернистость может регулироваться в пределах 325-2500отрядов(0.044-0.005mm). PDF скачать продажи: +86-21-68763311
ZYM Милл
©2021 Все права защищены ООО Шанхайская машиностроительая компания Чжоя              E-Mail:joyal@crusherinc.com